杏吧_性吧_sex8_杏吧有你春暖花开

 找回密码
 立即注册
  • 杏彩体育

  • 杏彩体育

  • 杏彩体育

  • 澳门新葡京

  • 杏彩体育

  • 澳門新葡京

  • 杏彩体育

  • 杏彩体育

  • 杏彩体育

  • 杏彩体育

  • 杏彩体育

  • 澳门新葡京

×

选择推广文案

0425河内1分彩

https://www.xingba2017.com/?x=0

×
加入VIP
加入杏吧VIP 享多重福利
查看: 99|回复: 6
打印 上一主题 下一主题

[讨论区] 0425河内1分彩

  [分享提现领取免费VIP]

等级:Level 14

离职管理

杏聊群管理員

4014

主题

8万

帖子

1万

积分

Level 14

Rank: 14Rank: 14Rank: 14Rank: 14

积分
17257

博彩RMB培训连任管理人员峥嵘岁月建设巨匠德高望重管理之星万花辉煌荣誉高级群活跃荣誉督察德隆望尊建筑大师慈善之星终身成就工会F论坛元老白银会员灌水之王黄金会员杏吧周年纪念章杏吧2周年纪念章杏吧3周年纪念章杏吧4周年纪念章杏吧5周年纪念章杏吧6周年纪念章杏吧7周年纪念章杏吧8周年纪念章杏吧10周年纪念章元旦勋章玄铁会员青铜会员论坛功臣高级导师信息功成名就

跳转到指定楼层
楼主
 楼主| 发表于 2020-4-25 15:03:01 | 只看该作者|只看大图 回帖奖励 |倒序浏览 |阅读模式 |

杏吧有你,春暖花开!马上注册,看更多精彩内容!

您需要 登录 才可以下载或查看,没有帐号?立即注册

x
  
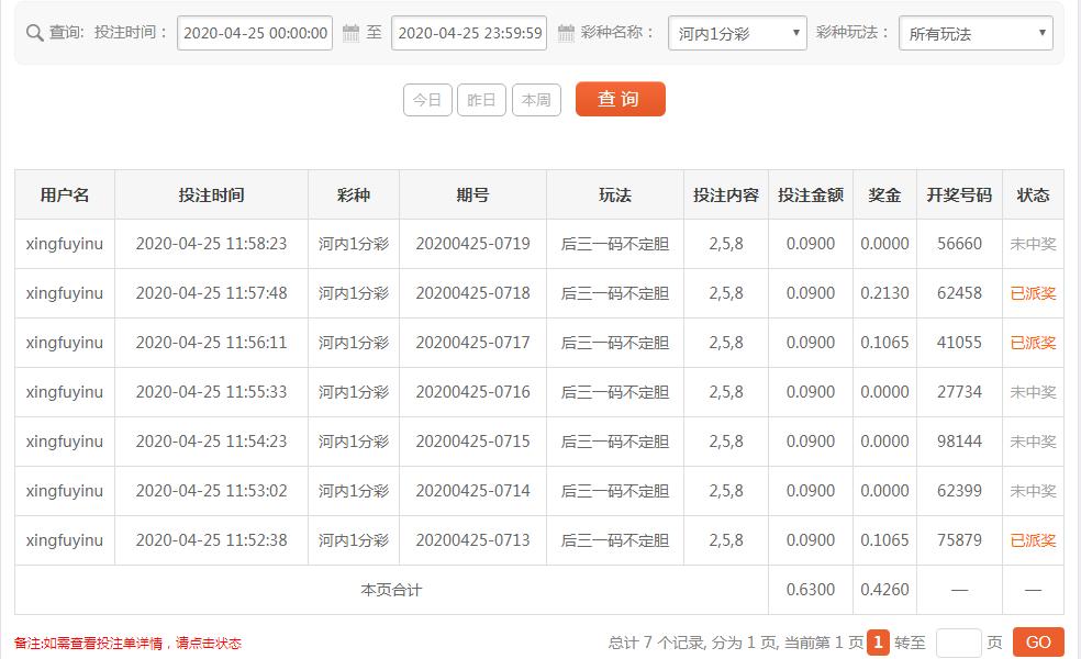
下了七八注,
只红了三注,而且命中率也差,
只能是负利了,
明天再来看看吧,
希望能有一个好的运气!!!





谢谢观看,请点击下面的支持,您的支持+回复是对我最大的支持
   
                                                                                                                  
任沧海桑田,唯愿你我,只若初见!!!
回复 + 3贡献

使用道具

头像被屏蔽

等级:禁止发言

彩金拓展团

原创白银会员

Level 14

9319

主题

10万

帖子

1万

积分

禁止发言

积分
15049

峥嵘岁月原创达人建设巨匠原创大师辉煌荣誉建筑大师终身荣誉慈善之星黄金会员杏吧名人德高望重中秋节国庆节元旦勋章圣诞活动纪念章情人节纪念章杏吧7周年纪念章春节勋章元宵节勋章五一劳动节论坛元老端午节勋章八一建军节杏吧周年纪念章杏吧2周年纪念章杏吧3周年纪念章杏吧4周年纪念章杏吧5周年纪念章杏吧6周年纪念章世博纪念世界杯勋章亚运会纪念章奥运纪念章小苮儿家族勋章杏吧10周年纪念章灌水之王玄铁会员青铜会员白银会员杏吧8周年纪念章

沙发
发表于 2020-4-25 15:51:05 | 只看该作者|
提示: 作者被禁止或删除 内容自动屏蔽
举报广告即得积分奖励

使用道具

等级:Level 13

6

主题

3万

帖子

7537

积分

Level 13

Rank: 13Rank: 13Rank: 13Rank: 13

积分
7537
板凳
发表于 2020-4-25 16:28:09 | 只看该作者|
但愿明天楼主能够如愿获奖

等级:图吧转帖组

Level 16

1万

主题

10万

帖子

5万

积分

图吧转帖组

积分
59192

青铜会员玄铁会员七宗罪逍遥派六扇门星宿派水月轩万花花间派连任管理人员高级群活跃工会F灌水之王建设巨匠白银会员德高望重建筑大师峥嵘岁月管理之星黄金会员原创达人套图原创之精英图吧学员辉煌荣誉慈善之星小苮儿家族勋章浅浅家族勋章德隆望尊终身成就论坛元老明日之杏高级版主钻石会员

地板
发表于 2020-4-25 17:00:19 | 只看该作者|
大家都希望有个好运气吧。

等级:Level 16

影吧网赚

漫画高手

图吧转帖组

2万

主题

11万

帖子

5万

积分

Level 16

Rank: 16Rank: 16Rank: 16Rank: 16

积分
57187

逍遥派慈善之星杏吧7周年纪念章元旦勋章建设巨匠原创达人峥嵘岁月白银会员建筑大师原创大师辉煌荣誉终身荣誉最受欢迎图之精英漫画高手自拍新秀高级群活跃德高望重黄金会员杏吧名人杏吧牛人灌水之王论坛元老杏吧10周年纪念章建党90周年纪念章杏吧3周年纪念章杏吧8周年纪念章杏吧周年纪念章杏吧2周年纪念章杏吧4周年纪念章杏吧5周年纪念章杏吧6周年纪念章春节勋章情人节纪念章元宵节勋章五一劳动节端午节勋章八一建军节国庆节中秋节教师节纪念章玄铁会员钻石会员奥运纪念章世博纪念世界杯勋章圣诞活动纪念章亚运会纪念章亚运火炬传递章德隆望尊明日之杏

5
发表于 2020-4-25 17:19:03 | 只看该作者|
运气不好就是输钱啊

[url=read-htm-tid-4122108.html,1]心动不如行动,赶紧点我申请参加彩金拓展团吧[/url]

[url=read-htm-tid-4122108.html,1][/url]

等级:Level 8

彩金拓展团

3466

主题

3万

帖子

267

积分

Level 8

Rank: 8Rank: 8

积分
267
6
发表于 2020-4-25 19:55:43 | 只看该作者|
希望明天能够有好运气

等级:Level 10

7029

主题

10万

帖子

1407

积分

Level 10

Rank: 10Rank: 10Rank: 10

积分
1407

灌水之王玄铁会员青铜会员

7
发表于 2020-4-25 21:02:11 | 只看该作者|
希望楼主有好运吧
高级模式
B Color Image Link Quote Code Smilies
上传中...
您需要登录后才可以回帖 登录 | 立即注册

本版积分规则

TOP 加入VIP
签到中心
杏彩体育
( RMB)购买成功!!
×
百年杏吧看书送VIP金鼎财富犀牛跑分杏彩体育杏彩娱乐后宫导航杏书宝典杏吧APP

小黑屋|Twitter|纸飞机|广告商务|加入我们|2257|DMCA|Archiver|杏吧-华语第一成人社区

GMT+8, 2026-2-21 07:16

分享推广,薪火相传 杏吧VIP,尊荣体验